The common four-stroke engine owns most of the automotive and middle-sized engine world. Its four distinct phases, each defined by a piston stroke, are intake, compression, power, and exhaust. Even rotary engines use this principle.
The four-stroke took over from the less efficient two-stroke engine early on in automotive design and its power output and efficiency quickly made it the powerplant of choice.
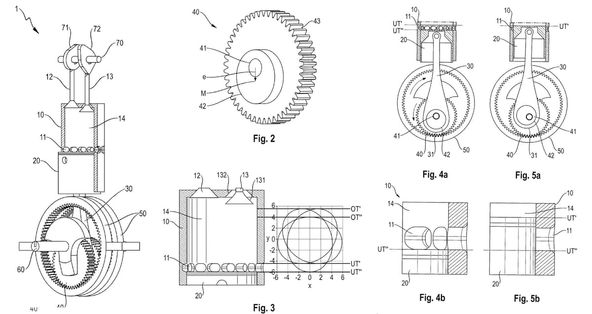
Now Porsche has revived the idea of a six-stroke engine, first patented (but never realized) in 1883. In a six-stroke engine, which adds two strokes to the series. In this case, an extra compression and another power stroke. Making the phases intake, compression, power, compression, power, exhaust. This effectively double-burns the air and fuel, providing added power and (theoretically) cleaner exhaust.
Porsche’s design has the crankshaft doing the work to add the extra two strokes. It spins on a ring that’s itself on planetary gears. So as the crankshaft rotates, the pistons have two different top-dead- and bottom-dead-center points. This creates variable compression as well as the added strokes.
The patent seems to point out that the six-stroke would mean more horsepower from the same displacement and cleaner emissions as a result. It does not address anything to do with added noise, vibration, harshness (NVH), harmonic balance, or what the RPM range would be for this design. It’s a basic design concept, not a completed engine.
But it’s pretty radical. Previous, more modern six-stroke designs have included things like water injection to take advantage of cylinder heat to create a second push from steam and added valves to input for extra combustion.
For the Porsche design, it’s purely conjecture on my part, but the thermal and power efficiencies would be higher than the standard four-stroke. Though the engine would be inherently more complex as well.
If the engine sees production at the German automaker, it’s more likely to be in an exotic or racing vehicle than in a production vehicle.





