• Breaking News
  • Car Reviews
  • Videos
  • About Us
    • Editorial Staff
  • Privacy Policy
    • Commenting Policy
    • DMCA
  • Breaking News
  • Car Reviews
  • Videos
  • About Us
    • Editorial Staff
  • Privacy Policy
    • Commenting Policy
    • DMCA
CarNewsCafe
CarNewsCafe
CarNewsCafe
  • Breaking News
  • Car Reviews
  • Videos
  • About Us
    • Editorial Staff
  • Privacy Policy
    • Commenting Policy
    • DMCA
0
CarNewsCafe
  • Breaking News
  • Car Reviews
  • Videos
  • About Us
    • Editorial Staff
  • Privacy Policy
    • Commenting Policy
    • DMCA
0
CarNewsCafe > Manufacturers > Porsche

Porsche

Breaking NewsPorsche

Porsche makes limited collector 911 GT3 90 to tribute FA Porsche

December 12, 2025
Breaking NewsElectric VehiclesPorsche

Porsche Takes Wireless EV Charging to Production

September 5, 2025
Breaking NewsPorsche

1-of-1 Porsche 963 RSP Unveiled at LeMans

June 6, 2025
Automotive IndustryCadillacDodgeFeaturedFordHondaHyundaiIndian MotorcyclePorschePress ReleaseRivianVolkswagen

News Releases of Note This Week (November 11 – 16, 2024)

November 16, 2024
AudiAutomotive IndustryAutonomous TechElectric Vehicle RacingElectric VehiclesFeaturedFordPorschePress ReleaseStellantis Fiat-Chrysler

News Releases of Note This Week (October 20 – 26, 2024)

October 26, 2024
AudiAutomotive IndustryDodgeFeaturedFordGeneral MotorsNissanPorschePress ReleaseSubaruToyota

News Releases of Note This Week (October 13 – 19, 2024)

October 19, 2024
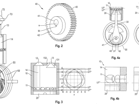
FeaturedPorsche

Porsche Patents Crazy 6-Stroke Engine Design

September 23, 2024
Automotive IndustryBentleyFeaturedFordMINIPorschePress ReleaseStellantis Fiat-Chrysler

News Releases of Note This Week (July 14 – July 20, 2024)

July 20, 2024
1 2 … 11

© 2016–2023 Pixwell made with Love, powered by ThemeRuby.